위 이미지를 클릭하시면 인터넷으로 바로 문제를 풀어 보실수 있습니다.
(해설, 모의고사, 오답노트, 워드, 컴활, 정보처리 상설검정 프로그램 기능 포함)
전자문제집 CBT 자동접속기 : 다운로드 , 필기 기출문제(HWP파일) : [다운로드]
전자문제집 CBT란? 워드, 컴활, 정보처리 상설검정에서 사용하는 실제 시험 프로그램 방식입니다.
특수용접기능사 필기 기출문제 및 CBT 2014년01월26일(1회)
| 1. | 다음 중 정전압 특성에 관한 설명으로 옳은 것은? |
| 가. | 부하 전압이 변화하면 단자 전압이 변하는 특성 |
| 나. | 부하 전류가 증가하면 단자 전압이 저하하는 특성 |
| 다. | 부하 전압이 변화하여도 단자 전압이 변하지 않는 특성 |
| 라. | 부하 전류가 변화하지 않아도 단자 전압이 변하는 특성 |
정답 : [3]☜ 블럭 설정하면 보임 정답율 : 85%
|
| 2. | 다음 중 연강 용접봉에 비해 고장력강 용접봉의 장점이 아닌 것은? |
| 나. | 동일한 강도에서 판의 두께를 얇게 할 수 있다. |
| 다. | 소요 강재의 중량을 상당히 무겁게 할 수 있다. |
| 라. | 구조물의 하중을 경감시킬 수 있어 그 기초공사가 단단해진다. |
정답 : [3]☜ 블럭 설정하면 보임 정답율 : 80%
|
| 3. | 다음 중 피복 아크 용접에 있어 위빙 운봉 폭은 용접봉 심선 지름의 얼마로 하는 것이 가장 적절한가? |
정답 : [2]☜ 블럭 설정하면 보임 정답율 : 85%
|
| 4. | 피복 아크 용접에서 용접속도(welding speed)에 영향을 미치지 않는 것은? |
정답 : [4]☜ 블럭 설정하면 보임 정답율 : 63%
|
| 5. | 다음 중 가스 불꽃의 온도가 가장 높은 것은? |
정답 : [4]☜ 블럭 설정하면 보임 정답율 : 83%
|
| 6. | 다음 중 아크 에어 가우징시 압축공기의 압력으로 가장 적합한 것은? |
정답 : [2]☜ 블럭 설정하면 보임 정답율 : 76%
|
| 7. | 다음 중 직류 아크 용접의 극성에 관한 설명으로 틀린 것은? |
| 가. | 전자의 충격을 받는 양극이 음극보다 발열량이 작다. |
| 나. | 정극성일 때는 용접봉의 용융이 늦고 모재의 용입은 깊다. |
| 다. | 역극성일 때는 용접봉의 용융속도는 빠르고 모재의 용입이 얕다. |
| 라. | 얇은 판의 용접에는 용락(burn through)을 피하기 위해 역극성을 사용하는 것이 좋다. |
정답 : [1]☜ 블럭 설정하면 보임 정답율 : 72%
|
| 8. | 다음중 원판상의 롤러 전극 사이에 용접할 2장의 판을 두고 가압, 통전하여 전극을 회전시키며 연속적으로 점용접을 반복하는 용접법은? |
정답 : [1]☜ 블럭 설정하면 보임 정답율 : 68%
|
| 9. | 다음 중 정격 2차 전류가 200A, 정격 사용률이 40%의 아크 용접기로 150A 의 용접전류를 사용하여 용접하는 경우 사용률은 약 몇 % 인가? |
정답 : [4]☜ 블럭 설정하면 보임 정답율 : 49%
|
| 10. | 다음 중 가연성 가스가 가져야 할 성질과 가장 거리가 먼 것은? |
정답 : [2]☜ 블럭 설정하면 보임 정답율 : 74%
|
| 11. | 다음 중 전기용접에 있어 전격방지기가 기능하지 않을 경우 2차 무부하 전압은 어느 정도가 가장 적합한가? |
정답 : [1]☜ 블럭 설정하면 보임 정답율 : 61%
|
| 12. | 다음 중 고속분출을 얻는데 적합하고, 보통의 팁에 비하여 산소의 소비량이 같을 때 절단속도를 20~25% 증가시킬 수 있는 절단 팁은? |
정답 : [4]☜ 블럭 설정하면 보임 정답율 : 68%
|
| 13. | 다음 중 산소-아세틸렌가스 용접에서 주철에 사용하는 용제에 해당하지 않는 것은? |
정답 : [3]☜ 블럭 설정하면 보임 정답율 : 53%
|
| 14. | 다음은 수중 절단(underwater cutting) 에 관한 설명으로 틀린 것은? |
| 가. | 일반적으로 수중 절단은 수심 45m 정도까지 작업이 가능하다. |
| 나. | 수중 작업 시 절단 산소의 압력은 공기 중에서의 1.5~2배로 한다. |
| 다. | 수중 작업 시 예열 가스의 양은 공기 중에서의 4~8배 정도로 한다. |
| 라. | 연료가스로는 수소, 아세틸렌, 프로판, 벤젠 등이 사용되나 그 중 아세틸렌이 가장 많이 사용된다. |
정답 : [4]☜ 블럭 설정하면 보임 정답율 : 84%
|
| 15. | 강재의 가스 절단 시 팁 끝과 연강판 사이의 거리는 백심에서 1.5~2.0mm 정도 떨어지게 하며, 절단부를 예열하여 약 몇 ℃ 정도가 되었을 때 고압산소를 이용하여 절단을 시작하는 것이 좋은가? |
정답 : [4]☜ 블럭 설정하면 보임 정답율 : 50%
|
| 16. | 내용적이 40L, 충전압력이 150kgf/㎠인 산소용기의 압력이 50kgf/㎠까지 내려갔다면 소비한 산소의 량은 몇 L인가? |
정답 : [3]☜ 블럭 설정하면 보임 정답율 : 48%
|
| 17. | 다음 중 연강용 피복 아크 용접봉 피복제의 역할과 가장 거리가 먼 것은? |
정답 : [2]☜ 블럭 설정하면 보임 정답율 : 84%
|
| 18. | 담금질 가능한 스테인리스강으로 용접 후 경도가 증가하는 것은? |
정답 : [4]☜ 블럭 설정하면 보임 정답율 : 60%
|
| 19. | 다음 중 저융점 합금에 대하여 설명한 것 중 틀린 것은? |
| 가. | 납 (Pb: 용융점 327℃)보다 낮은 융점을 가진 합금을 말한다. |
| 라. | 전기 퓨즈, 화재경보기, 저온땜납 등에 이용된다. |
정답 : [1]☜ 블럭 설정하면 보임 정답율 : 54%
|
| 20. | 열처리방법에 따른 효과로 옳지 않은 것은? |
정답 : [2]☜ 블럭 설정하면 보임 정답율 : 53%
|
| 21. | 고 Ni의 초고장력강이며 1370 ~ 2060 Mpa의 인장강도와 높은 인성을 가진 석출경화형 스테인리스강의 일종은? |
| 라. | Cr 12 - 17%, C 0.2%의 페라이트계 스테인리스강 |
정답 : [1]☜ 블럭 설정하면 보임 정답율 : 36%
|
정답 : [2]☜ 블럭 설정하면 보임 정답율 : 48%
|
| 23. | 침탄법을 침탄제의 종류에 따라 분류할 때 해당되지 않는 것은? |
정답 : [4]☜ 블럭 설정하면 보임 정답율 : 83%
|
| 가. | 상온에서 고체이며 결정체이다. (단, Hg은 제외) |
정답 : [4]☜ 블럭 설정하면 보임 정답율 : 78%
|
| 25. | 비자성이고 상온에서 오스테나이트 조직인 스테인리스강은? (단, 숫자는 %를 의미한다) |
정답 : [1]☜ 블럭 설정하면 보임 정답율 : 73%
|
| 26. | 구리는 비철재료 중에 비중을 크게 차지한 재료이다. 다른 금속재료와의 비교 설명 중 틀린 것은? |
| 가. | 철에 비해 용융점이 높아 전기제품에 많이 사용된다. |
| 나. | 아름다운 광택과 귀금속적 성질이 우수하다. |
정답 : [1]☜ 블럭 설정하면 보임 정답율 : 84%
|
| 가. | 크롬강은 담금질이 용이하고 경화층이 깊다. |
| 라. | 구조용은 W, V, Co를 첨가하고 공구용은 Ni, Mn, Mo을 첨가한다. |
정답 : [4]☜ 블럭 설정하면 보임 정답율 : 62%
|
| 28. | 청동은 다음 중 어느 합금을 의미하는가? |
정답 : [3]☜ 블럭 설정하면 보임 정답율 : 60%
|
| 29. | 용접부의 표면이 좋고 나쁨을 검사하는 것으로 가장 많이 사용하며 간편하고 경제적인 검사방법은? |
정답 : [2]☜ 블럭 설정하면 보임 정답율 : 86%
|
| 30. | 아크 용접 작업에 관한 안전 사항으로서 올바르지 않은 것은? |
| 가. | 용접기는 항상 환기가 잘되는 곳에 설치할 것 |
정답 : [2]☜ 블럭 설정하면 보임 정답율 : 90%
|
| 31. | 서브머지드 아크용접에 사용되는 용융형 용제에 대한 특징 설명 중 틀린 것은? |
| 가. | 흡수성이 거의 없으므로 재건조가 불필요하다. |
정답 : [4]☜ 블럭 설정하면 보임 정답율 : 37%
|
| 32. | 보통 화재와 기름 화재의 소화기로는 적합하나 전기 화재의 소화기로는 부적합한 것은? |
정답 : [1]☜ 블럭 설정하면 보임 정답율 : 53%
|
정답 : [3]☜ 블럭 설정하면 보임 정답율 : 68%
|
| 34. | 용접 결함 방지를 위한 관리기법에 속하지 않는 것은? |
| 가. | 설계도면에 따른 용접 시공 조건의 검토와 작업 순서를 정하여 시공한다. |
| 나. | 용접 구조물의 재질과 형상에 맞는 용접 장비를 사용한다. |
| 다. | 작업 중인 시공 상황을 수시로 확인하고 올바르게 시공할 수 있게 관리한다. |
| 라. | 작업 후에 시공 상황을 확인하고 올바르게 시공할 수 있게 관리한다. |
정답 : [4]☜ 블럭 설정하면 보임 정답율 : 79%
|
| 35. | 용접부의 인장응력을 완화하기 위하여 특수해머로 연속적으로 용접부 표면층을 소성변형 주는 방법은? |
정답 : [1]☜ 블럭 설정하면 보임 정답율 : 74%
|
| 36. | 이산화탄소 아크 용접에서 일반적인 용접작업(약 200A 미만) 에서의 팁과 모재간 거리는 몇 mm 정도가 가장 적합한가? |
정답 : [2]☜ 블럭 설정하면 보임 정답율 : 74%
|
정답 : [1]☜ 블럭 설정하면 보임 정답율 : 64%
|
정답 : [3]☜ 블럭 설정하면 보임 정답율 : 72%
|
| 39. | 액체 이산화탄소 25kg 용기는 대기 중에서 가스량이 대략 12700 L이다. 20L/min의 유량으로 연속 사용할 경우 사용 가능한 시간(hour)은 약 얼마인가? |
정답 : [3]☜ 블럭 설정하면 보임 정답율 : 71%
|
| 40. | 파장이 같은 빛을 렌즈로 집광하면 매우 작은 점으로 집중이 가능하고 높은 에너지로 집속하면 높은 열을 얻을 수 있다. 이것을 열원으로 하여 용접하는 방법은? |
정답 : [1]☜ 블럭 설정하면 보임 정답율 : 86%
|
| 41. | 티그 용접의 전원 특성 및 사용법에 대한 설명이 틀린 것은? |
| 가. | 역극성을 사용하면 적극의 소모가 많아진다. |
| 나. | 알루미늄 용접 시 교류를 사용하면 용접이 잘된다. |
| 다. | 정극성은 연강, 스테인리스강 용접에 적당하다. |
| 라. | 정극성을 사용할 때 전극은 둥글게 가공하여 사용하는 것이 아크가 안정된다. |
정답 : [4]☜ 블럭 설정하면 보임 정답율 : 62%
|
| 42. | 플러그 용접에서 전단 강도는 일반적으로 구멍의 면적당 전용착금속 인장강도의 몇 % 정도로 하는가? |
정답 : [3]☜ 블럭 설정하면 보임 정답율 : 49%
|
정답 : [4]☜ 블럭 설정하면 보임 정답율 : 66%
|
| 44. | 이산화탄소 가스 아크 용접에서 아크 전압이 높을 때 비드 형상으로 맞는 것은? |
정답 : [1]☜ 블럭 설정하면 보임 정답율 : 70%
|
| 45. | 용접재 예열의 목적으로 옳지 않은 것은? |
정답 : [4]☜ 블럭 설정하면 보임 정답율 : 85%
|
| 46. | 다음 중 용접부에 언더컷이 발생했을 경우 결함 보수 방법으로 가장 적당한 것은? |
정답 : [3]☜ 블럭 설정하면 보임 정답율 : 82%
|
| 47. | 화재 및 폭발의 방지 조치사항으로 틀린 것은? |
| 나. | 인화성 액체의 반응 또는 취급은 폭발 한계범위 이내의 농도로 한다. |
| 다. | 아세틸렌이나 LP 가스 용접시에는 가연성 가스가 누설 되지 않도록 한다. |
| 라. | 대기 중에 가연성 가스를 누설 또는 방출시키지 않는다. |
정답 : [2]☜ 블럭 설정하면 보임 정답율 : 85%
|
| 48. | 가스용접 작업 시 주의사항으로 틀린 것은? |
| 나. | 산소호스와 아세틸렌호스는 색깔 구분 없이 사용한다. |
| 다. | 불필요한 긴 호스를 사용하지 말아야 한다. |
| 라. | 용기 가까운 곳에서는 인화물질의 사용을 금한다. |
정답 : [2]☜ 블럭 설정하면 보임 정답율 : 95%
|
| 49. | 불활성가스 금속아크 용접의 용접토치 구성 부품 중 와이어가 송출되면서 전류를 통전시키는 역할을 하는 것은? |
| 라. | 플렉시블 콘딧(flexible conduit) |
정답 : [2]☜ 블럭 설정하면 보임 정답율 : 83%
|
| 50. | 다음 중 테르밋 용접의 점화제가 아닌 것은? |
정답 : [2]☜ 블럭 설정하면 보임 정답율 : 30%
|
| 51. | 그림과 같은 도면에서 지름 3㎜ 구멍의 수는 모두 몇 개인가? |
 정답 : [2]☜ 블럭 설정하면 보임 정답율 : 90%
|
| 52. | 다음 중 도면의 일반적인 구비조건으로 거리 가 먼 것은? |
| 가. | 대상물의 크기, 모양, 자세, 위치의 정보가 있어야 한다. |
| 나. | 대상물을 명확하고 이해하기 쉬운 방법으로 표현해야 한다. |
| 다. | 도면의 보존, 검색 이용이 확실히 되도록 내용과 양식을 구비해야 한다. |
| 라. | 무역과 기술의 국제 교류가 활발하므로 대상물의 특징을 알 수 없도록 보안성을 유지해야 한다. |
정답 : [4]☜ 블럭 설정하면 보임 정답율 : 97%
|
| 53. | 그림과 같은 용접기호에서 a7이 의미하는 뜻으로 알맞은 것은? |
 정답 : [4]☜ 블럭 설정하면 보임 정답율 : 58%
|
| 54. | 일반적으로 표면의 결 도시 기호에서 표시하지 않는 것은? |
정답 : [1]☜ 블럭 설정하면 보임 정답율 : 47%
|
| 55. | 치수 숫자와 함께 사용되는 기호가 바르게 연결된 것은? |
정답 : [2]☜ 블럭 설정하면 보임 정답율 : 80%
|
| 57. | 다음 중 일반구조용 압연강재의 KS 재료 기호는? |
정답 : [1]☜ 블럭 설정하면 보임 정답율 : 54%
|
| 58. | 배관의 접합 기호 중 플랜지 연결을 나타내는 것은? |
| 가. |  |
| 나. |  |
| 다. |  |
| 라. |  |
정답 : [2]☜ 블럭 설정하면 보임 정답율 : 64%
|
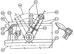
| 59. | 그림에서 '6.3' 선이 나타내는 선의 명칭으로 옳은 것은? |
 정답 : [1]☜ 블럭 설정하면 보임 정답율 : 81%
|
| 60. | 다음 중 직원뿔 전개도의 형태로 가장 적합한 형상은? |
| 가. |  |
| 나. |  |
| 다. |  |
| 라. |  |
정답 : [2]☜ 블럭 설정하면 보임 정답율 : 91%
|
특수용접기능사 필기 기출문제 및 CBT 2014년01월26일(1회)을 이용해 주셔서 감사합니다.